汉唐归来
惟有中华

深圳宁南山:从中国人均GDP已经超过日本40%说起|2026-02-9

最近注意到的几个事情,日本在2026年的现在还在继续不断跌落,日本在朝着失去的第四个十年迈进。
我有一个感觉,那就是东亚千年来正常的秩序是中国最为先进,富裕,
然后朝鲜半岛由于和中国交往密切所以文明程度次之,
日本最为落后野蛮。
这个情况只是在近代一两百年发生了改变,日本在明治维新和19世纪末甲午战争击败中国后,一举超过了中国。
而现在,东亚的情况又在向历史的常态回归。

值得注意的是,这些年日本在逐渐向右转,从安倍晋三到高市早苗的台湾有事就是日本有事论,到去年12月18日日本《朝日新闻》报道一名在首相府工作的日本高官发表了认为“日本应当拥有核武器”(日本株式会社所属《周刊文春》网站2025年12月24日披露发表该言论的是负责核军控、核不扩散事务的首相辅佐官尾上定正)。
而值得注意的是,发表这样拥核观点的日本官员没有收到任何惩罚。
除此之外,这些年由于外国移民数量猛增,带来的日本社会反移民思潮上涨,现在日本选举,所有的候选人都会谈及移民问题,在议题上已经欧美化了。
经济上的持续下滑,外国移民的不断引进,和右翼思想发展壮大,都发生在现在的日本。

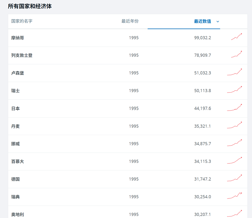
日本在1995年达到其全球经济地位的巅峰,GDP总量全球第二,人均GDP全球第五,仅仅比摩纳哥,列支敦士登,卢森堡和瑞士少一些。
下图是我在世界银行官网截的,
没错日本1995年的人均GDP比瑞典,挪威,丹麦这些北欧国家都还要高,当然也比荷兰,比利时,美国,德国,法国,英国这些国家高。
图片

而在东亚地区,1995年日本人均GDP则是毫无疑问的第一名,
1995年日本人均GDP高于香港,澳门,台湾,韩国,而且还高出不少。
根据世界银行的数据,1995年日本人均GDP是44197.6美元,
而当时东亚最接近日本的香港也只有23497.4美元,只有日本的一半多点也就是53.16%。
澳门更是只有17215.1美元,可以看出澳门在回归前人均GDP也是挺一般的,不像现在那样高的离谱。
韩国更是只有13001.7美元,只有日本的29.42%,连三分之一都不到。
台湾则跟韩国差不多,世界银行官网没有放台湾的数据,我在IMF(国际货币基金组织)官网上查了下,台湾1995年是13070美元。也是差不多日本的30%少一点。

当然中国大陆就不用说了,1995年我国人均GDP才612.7美元,只有日本的1.386%,反过来日本是我们的72.15倍。
著名的纪录片《含泪活着》的主人公上海人丁尚彪,就是1989年6月启程去的日本打黑工,2004年回国,在日本忍受长期的孤独呆了15年,由于没有合法身份他这15年从未回国,
在他到日本的第八年,1997年才因为女儿到美国留学在东京转机才在赴日后第一次见到女儿,

2002年丁尚彪的妻子前往美国探望女儿在东京转机,在赴日13年后才第一次见到妻子,长期的分离,他的妻子都怀疑他是不是在日本另外有家庭了,
丁尚彪在2004年回国后,在上海呆了几年又去美国和女儿团聚并定居。
我在看这部纪录片时,实在是感叹这种惊人的牺牲,背后就是当时即使是上海,和日本的收入差距也太大了,在日本打工一个月的收入是上海的几百倍,没错不是几十倍,而是几百倍,
用他自己在纪录片的话说,“在日本的一天的工资,顶我在中国十个月”,十个月就是300天,这是300倍的差距了。

他这么说也并不是完全吹牛,1989年6月赴日前丁尚彪是上海一家工厂的炊事员,月薪还不到100元人民币,十个月工资也就是不到1000元,
而他在日本打工,峰值时期一天做多份兼职,工作时间超过12个小时,他自己也说一个月能寄回国高达25万日元,据此推算其收入在25-30万日元之间,

汉风网网站提示:
(不建议在百度app和苹果自带浏览器上进行购买和阅览,百度app不支持汉风网相关功能。请在手机自带浏览器上进行阅览。)
我们的收费仅为维持网站运营所需的服务器与带宽以及人员的最低开支。如果不是一元两元的累计收入,汉风网团队早已解散。在此再次感谢老友们的支持与帮助。
请您放心购买,如果您支付打不开的话,请联系我们微信客服,(微信号:hanfengkefu007 免验证),五分钟内发您全文。
联系客服办法请点击网站地址:http://hanfeng1918.com/baijia/92855.html
建议老友们升级会员,升级会员后,可以全部阅览。如果不会操作升级会员,请加汉风网客服微信,我们后台给您添加。
请老友们一定点击“立即购买 或 升级vip”按钮进行购买,因服务器反应慢点击购买后大概需要8秒左右,(如果等待8秒没有反应,可以再次点击一下)会跳转到支付页面。购买成功后才可以查看到剩余内容,购买成功后如果遇到服务器没有反应则请等待一会刷新(如果还是看不了,请再次刷新一下),或重新打开本篇文章,因技术原因请老友们尽量在半个小时内阅读完,超过时限会需要重新购买
赞(8)
请您分享转发:汉风1918-汉唐归来-惟有中华 » 深圳宁南山:从中国人均GDP已经超过日本40%说起|2026-02-9
分享到